Kontaktkampagner
Priskampagne for garageporte ISO 45
Rådgivning & kontakt
Kontakt
Anmodom et tilbud
Bestil brochurer
Anmodom planlægningsdokumenter
NOVOFERM PROFILRAMMESYSTEMER AF STÅL
NEU - NOVOFIRE STÅL
Med NovoFire® Steel lancerer Novoferm den første rørrammedør i stål, der er udviklet og produceret internt, og som er godkendt som brand- og røgbeskyttelseslukning. Den nye dør imponerer med sine mange fordele: Den innovative profilgeometri giver mulighed for elegant design og stor fleksibilitet med hensyn til konstruktion, glas, beslag og eftermontering af andre godkendte komponenter. Systemet er også kendetegnet ved enkel installation og scorer højt på bæredygtighed, da det er baseret på genanvendeligt stål.

Til moderne ejendomsbyggeri erNovoFire® Steel rørrammedøre baseret på stålprofiler med en konstruktionsdybde på 65 mm og en materialetykkelse på 1,8 mm. Serien er kendetegnet ved pålidelig brand- og/eller røgbeskyttelse samt en bred vifte af anvendelsesmuligheder, fleksibel konfiguration og enkel installation.

Høj funktionalitet Fås somNovoFire® Steel T30 branddør (EI 30 S200 C5) og som NovoFire® Steel RS røgkontroldør (S200). Vores døre er nemme at montere og finjustere med gennemtænkte detaljer (bl.a. en unik multifunktionel rille til nem montering og finjustering af beslag m.m.).

Levende bæredygtighed Grundprofilen på Novoferms rørrammedøre er lavet af 100 % genanvendeligt stål og er altid indbygget. Døren kan også nemt eftermonteres med forskellige komponenter. Det gør det muligt efterfølgende at tilpasse systemet til ændrede krav.
Sammenligning af døre og egenskaber
Sammenligning af rørformede stålrammedøre
Dørbetegnelse | Godkendelse | Ramme | T30 | T90 | Røg | RC 2 | RC 3 | Varme |
NovoFire Stål RS | P-5022 DMT DO | stål | - | |||||
NovoFire Stål T30 | - | Stål | - | - | ||||
NovoFire Stål F30 | - | Stål | - | |||||
Forster fuego T90 | Z-6.20-1881 | stål | - | - | ||||
Forster fuego F90 | Z-19.14-1973 | stål | - | |||||
Forster unico | - | stål | - | - | - | |||
Forster unico EI30 |
| stål | - | - | - |
Detaljer NovoFire Stål
Detaljer NovoFire Stål
DET NOVOFIRE®-HÅNDTAG
NOVOFIRE® STEEL T30 OG NOVOFIRE® STEEL RSNovoFire® Steel rørrammedøre er baseret på stålprofiler med en konstruktionsdybde på 65 mm og en materialetykkelse på 1,8 mm. Serien er kendetegnet ved pålidelig brand- og/eller røgbeskyttelse samt en bred vifte af anvendelsesmuligheder, fleksibel konfiguration og enkel installation. NovoFire® Steel fås som NovoFire® Steel T30 (EI 30 S200 C5) branddør og som NovoFire® Steel RS (S200) røgbeskyttelsesdør, og den opfylder forskellige sikkerhedskrav.
NovoFire® Steel T30 garanterer en brandmodstandsperiode på 30 minutter og forhindrer spredning af både ild og røg i dette tidsrum. Den opsvulmende "Promaseal strip", som er integreret i dørfalsens gummiprofil, sikrer en sikker brandbeskyttelse. NovoFire® Steel RS anbefales i situationer, hvor der kun er behov for røgbeskyttelse. Dette system, der er testet i overensstemmelse med DIN 18095 og DIN EN 1634-3, forhindrer med succes røgpassage og udgør dermed en pålidelig rumafslutning.


[1] Godt udseende takket være funktionelt panel i dørfalsområdet, til røg- og brandbeskyttelse
[2] En lang række glaslistevarianter er mulige, herunder en glasliste på begge sider
[3] Grundprofilen er fremstillet af 100 % genanvendeligt stål og er altid planforsænket
[4] Den unikke multifunktionelle rille gør det nemt at installere og finjustere beslagene
DET TALER TIL FORDEL FOR DE NYE NOVOFIRE® STÅLRØRSDØRE FRA NOVOFERM
NovoFire® Steel kombinerer årtiers erfaring med fremstilling af rørrammedøre og brand- og røgbeskyttelse i ét system. Resultatet er et system, der ikke kun er kendetegnet ved et højt sikkerhedsniveau i en nødsituation, men som også muliggør andre anvendelser som automatisering, antipanikfunktion, adgangskontrol eller lydisolering.
De mange fordele omfatter
- Enkel installation
- Fremragende design, stor fleksibilitet og robusthed takket være innovativ profilgeometri
Generøse dimensioner1-fløjet: 1. 560 mm x 3. 000 mm2-fløjet: 3.000 mm x 3.000 mm- Udvidelsesprofiler for at øge de udvendige rammedimensioner
- Forskellige brandhæmmende glas og paneler med forskellige fyldninger
- Høj dimensionsstabilitet i tilfælde af brand (NovoFire® Steel T30)
Detaljer om stålsystemer
Detaljer om stålsystemer
NOVOFERM STÅLPROFILRAMMESYSTEMER GIVER SIKKERHED OG KOMFORT BÅDE INDE OG UDE
Novoferms profilrammesystemer af stål er ideelle komponenter til sikre og samtidig æstetisk sofistikerede anvendelser inden for røg- og brandsikringslukninger.
Grundmaterialets statiske egenskaber giver mulighed for uovertrufne filigranstrukturer med elegant smalle frontbredder.
Ud over "Presto RS" til røgbeskyttelse og "Fuego light" til brandbeskyttelse - begge designet til indendørs brug - tilbyder vi også "Unico", en profilkonstruktion til konstruktion af udvendige dørsystemer.
Det særlige ved dette system er, at det er fuldt genanvendeligt med sin innovative termiske afbrydelse, som helt undgår plast.

SYSTEMBESKRIVELSE "PRESTO" OG "FUEGO LIGHT"* Dørelement fremstillet af galvaniserede præcisionsstålrør. Døren er testet som røgbeskyttelsesdør ved hjælp af en automatisk sænkbar gulvtætning i overensstemmelse med DIN 18095. Karm- og fløjbredde 130 mm, sokkelhøjde 50, 70 - 420 mm, indbygningsdybde 50 mm. Fløjdimensionen på den inaktive fløj må ikke være mindre end 500 mm for dobbeltfløjede døre. Enheder forberedt til gennemstiks- eller påsvejsningsmontage.
Beslag Drop-in-lås, forberedt til profilcylinder, greb eller udskiftelige beslag med oval roset i aluminium, rustfrit stål eller PVC-U muligt. Inaktiv fløj fastholdt af den aktive fløjs øverste låsemekanisme som standard, alternativt anti-panikfunktion i overensstemmelse med DIN EN 179 eller DIN EN 1125 mulig. Karmdørlukker med glideskinne i henhold til DIN EN 1154, f.eks. GEZE TS 5000 / Dorma TS 93, integrerede dørlukningssystemer (GEZE Boxer / Dorma ITS 96), svingdørsautomatik i henhold til DIN 18263 / DIN 18650.
Hængsler To 2-delte påsvejsede stålhængsler pr. fløj, justerbare i tre dimensioner; hvis døren er udstyret med et svingdørsdrev, anbefaler vi tre hængsler. Andre hængselvarianter som f.eks. skruehængsler, rullehængsler, integrerede hængsler er mulige.
OVERFLADE Pulverlakeret grundet RAL 9002 (gråhvid) eller eventuelt færdigmalet (RAL Classic efter eget valg).
RUDER Sikkerhedsglas VSG eller ESG. Glasvarianter og panelfyldninger, profiler med enkeltsidet glasfals og glaslister på den modsatte hængselsside, tørglas med EPDM-tætninger.
FAST RUDER Flush-forbindelser til døren, alternativt stand-alone muligt, valgfrit skrå eller T-forbindelser.
Karmstolperne skal løbe uafbrudt over hele højden af den faste rude.
Stål som materiale for kvalitet og miljø
Stål som materiale for kvalitet og miljø

STÅL SOM MATERIALE - EN FORDEL FOR KVALITET OG MILJØ
Byggebranchen er altid på udkig efter nye strategier for at arbejde så miljøvenligt som muligt. Eksempler er at prioritere renovering frem for nybyggeri eller at foretrække råmaterialer fra regionen for at holde transportvejene korte. Men materialernes genanvendelighed spiller også en vigtig rolle. Her er stål særligt velegnet, da det er et materiale, der kan genbruges 100 %.
Det er en af grundene til, at Novoferm har lanceret NovoFire® Steel brand- og røgbeskyttelsesdøre af stål, som udnytter denne fordel og giver ekstra bæredygtighed.
DE TRE VIGTIGSTE FORDELE VED STÅL
100% GENBRUG Stål kan genbruges et ubegrænset antal gange, da dette materiale kan genbruges så ofte som nødvendigt uden tab af kvalitet. Gamle stålkomponenter er derfor ikke affald, der skal bortskaffes, men grundlaget for nye produkter.
EFFEKTIV UDNYTTELSE AF MATERIALET Stål giver en høj grad af robusthed, selv ved meget sarte geometrier. Det skyldes dels det høje elasticitetsmodul, dels at stål kan svejses. Det betyder, at man kan fremstille meget holdbare produkter med forholdsvis lidt materiale.
HOLDBARHED Takket være deres fremragende holdbarhed forbliver stålsystemer i brug i lang tid. Det reducerer i høj grad det materiale- og energiforbrug, der ville opstå, hvis systemet skulle udskiftes.
BÆREDYGTIGHED FRA NOVOFERM
Forbrug mindre, opnå mere: Effektiv brug af energi og andre ressourcer er en integreret del af vores virksomhedskultur, og det samme gælder løbende produkt- og procesoptimering med hensyn til bæredygtighed. Det gør os i stand til at tilbyde vores kunder løsninger, som på pålidelig vis kan opfylde moderne krav til bæredygtighed.
Ligesom med NovoFire® Steel: Dette system er ikke kun fremstillet af genanvendeligt stål, men sparer også vigtige ressourcer takket være dets systemkompatibilitet, enkle eftermonteringsmuligheder og holdbarhed.

FIRE GANGE BÆREDYGTIGHED MED NOVOFIRE®-STÅL
SYSTEMKOMPATIBILITET Brugen af standardiserede fittings fra det gennemprøvedeNovoFire® aluminiumssystem sparer ressourcer, optimerer omkostningseffektiviteten og garanterer sikkerhed baseret på mange års erfaring med den relevante teknologi.
OPGRADERBARHEDNovoFire® Steel kan nemt eftermonteres med forskellige komponenter. Det gør det muligt at tilpasse systemet til skiftende krav. En komplet udskiftning er ikke nødvendig.
ROBUSTHEDNovoFire® Steel produceres ved hjælp af en særlig fremstillingsproces. Profilerne er lavet af varmgalvaniseret metalplade, som garanterer høj korrosionsbestandighed, selv i de hule kamre.
ENVIRONMENTAL PRODUCT DECLARATIONS Novoferms stålprofilrammesystemer er produceret på en miljøvenlig måde, hvilket fremgår af forskellige produkterklæringer eller verifikationer, herunder ISO 14025, EN 15804, ISO 14001 og i overensstemmelse med BREEAM-, DGNB- og LEED-kriterierne.

Højdepunkter "NovoFire Steel"
Denne animation præsenterer højdepunkterne i Novoferms stålrørsdøre "NovoFire Steel" i en visuelt tiltalende og komprimeret form.
Du kan finde flere animationer på
Et overblik over dine pluspoint
- Rørformede stålrammedøre udviklet og produceret in-house til attraktive priser
- Fås som brandbeskyttelsesdør NovoFire Steel T30 / EI 30, Forster Fuego T90 / EI 90 og som røgbeskyttelsesdør NovoFire Steel RS
- Enkel installation og finjustering med gennemtænkte detaljer (f.eks. unik multifunktionel rille, der muliggør nem installation og finjustering af beslag, ...)
- Bæredygtighed takket være bundprofiler fremstillet af 100 % genanvendeligt stål
Stålprofiler med en konstruktionsdybde på 65 mm og en materialetykkelse på 1,8 mm
- Den opsvulmende "brandbeskyttelsesliste", som er integreret i dørfalsens gummiprofil, sikrer pålidelig brandbeskyttelse
- Fås op til en størrelse på BRM 1.560 x 3.000 mm (enkeltfløjet) eller 3.000 x 3.000 mm (dobbeltfløjet)
- Kan kombineres med sidepaneler og/eller overlys
- Forskellige brandhæmmende glas og paneler med forskellige fyldninger
- Stort udvalg af glaslistevarianter, beslagskomponenter og andet tilbehør
Teknologi og detaljer
Tekniske data NovoFire Steel RS
Modstandsklasse | RS | ||||
Typebetegnelse | NovoFire® Stål RS-1 | NovoFire® Stål RS-1 kombinationsdør | NovoFire® Stål RS-2 | NovoFire® Stål RS-dør med faste ruder | |
Modeller | |||||
Lodrette sprosser pr. ramme | 1 | 1 | 1 | Alle | |
Vandrette sprosser pr. ramme | 2 | 2 | 2 | Alle | |
Opdeling af paneler | |||||
Hældninger | - | - | - | - | |
Runde buer | - | - | - | - | |
Udsparinger | - | - | - | - | |
vinkel | - | - | - | - | |
Udvidelse | - | - | - | - | |
Dimensioner | |||||
Overordnede dimensioner | Bredde: Min. - max. | 625 - 1840* | ≤ 3840* | 1350 - 3280* | Ubegrænset 1) |
Højde: Min. - max. | 1750 - 3140* | ≤ 4140* | 1750 - 3140* | ≤ 4160 | |
Udvendige rammedimensioner | Bredde: Min. - max. | 585 - 1800* | 2585 - 3800* | 1310 - 3240* | Ubegrænset 1) |
Højde: Min. - max. | 1730 - 3120* | 2730 - 4120* | 1740 - 3120* | ≤ 4000 | |
| Bredde: Min. - max. | 431 - 1406 | 431 - 1406 | 1156 - 2846 | - |
Højde: Min. - max. | 1653 - 2923 | 1653 - 2923 | 1653 - 2923 | - | |
Min. åbningsbredde GF: | - | - | 500 | - | |
Max. Åbningsbredde GF: | - | - | 1474 | - | |
Dørblad | |||||
Konstruktionsdybde | 65 | 65 | 65 | 64 | |
Udsigt | 140 | 140 - 160 | 140 | 73 | |
Sokkelhøjde | 93 | 93 | 93 | 73 - 93 | |
Limet profil for sprosser/ akterspejl | 20 - 100/ 93 | 20 - 100/ 93 | 20 - 100/ 93 | 20 - 100/ 93 | |
Vægge | |||||
Murværk | ≥ 150 | ≥ 150 | ≥ 150 | ≥ 150 | |
Beton | ≥ 100 | ≥ 100 | ≥ 100 | ≥ 100 | |
Porebetonblokke eller flade blokke (styrkeklasse 4) | ≥ 150 | ≥ 150 | ≥ 150 | ≥ 150 | |
Porebetonplader i henhold til godkendelse (styrkeklasse 4.4)1) | ≥ 150 | ≥ 150 | ≥ 150 | ≥ 150 | |
Montagevægge (højde ≤ 5 m) stål, med paneler på begge sider2) | ≥ 100 | ≥ 100 | ≥ 100 | ≥ 100 | |
Tømmerramme (højde ≤ 5 m) med paneler på begge sider2) | ≥ 130 | ≥ 130 | ≥ 130 | ≥ 130 | |
Beklædte stålstøtter | - | - | - | - | |
Beklædte træsøjler | - | - | - | - | |
Kombination af glas/dør | - | - | - | - | |
Z-ramme | - | - | - | - | |
Fyldninger | |||||
VSG eller ESG | - | - | - | - | |
Panel | - | - | - | - | |
Forsegling til glasset | Tørre ruder (gummitætning) | - | - | - | - |
Vådt glas (modstående tape) | - | - | - | - | |
Designvarianter | |||||
Med ovenlys og sidepanel | - | - | - | - | |
Med ovenlys | - | - | - | - | |
Med sidepanel | - | - | - | - | |
Lydisoleringsdesign maks. Rw,P (Rw,R) | 42 (37) | - | 42 (37) | - | |
AbP nr. Testcertifikat fra den generelle bygningsmyndighed | P-5022 DMT DO | P-5022 DMT DO | P-5022 DMT DO | 1) | |
|
Tekniske data NovoFire Steel T30 / EI 30
Modstandsklasse | T30 | ||||
Typebetegnelse | NovoFire® Stål | NovoFire® Stål | NovoFire® Stål | NovoFire® Stål | |
Modeller | |||||
Lodrette sprosser pr. ramme | 1 | 1 | 1 | Alle | |
Vandrette sprosser pr. ramme | 2 | 2 | 2 | Alle | |
Opdeling af paneler | |||||
Hældninger | - | - | - | - | |
Runde buer | - | - | - | - | |
Udsparinger | - | - | - | - | |
vinkel | - | - | - | - | |
Udvidelse | - | - | - | - | |
Dimensioner | |||||
Overordnede dimensioner | Bredde: Min. - max. | 625 - 1840* | ≤ 3840* | 1350 - 3280* | Ubegrænset |
Højde: Min. - max. | 1750 - 3140* | ≤ 4140* | 1750 - 3140* | ≤ 4160 | |
Udvendige rammedimensioner | Bredde: Min. - max. | 585 - 1800* | 2585 - 3800* | 1310 - 3240* | Ubegrænset |
Højde: Min. - max. | 1730 - 3120* | 2730 - 4120* | 1740 - 3120* | ≤ 4000 | |
| Bredde: Min. - max. | 431 - 1406 | 431 - 1406 | 1156 - 2846 | - |
Højde: Min. - max. | 1653 - 2923 | 1653 - 2923 | 1653 - 2923 | - | |
Min. åbningsbredde GF: | - | - | 500 | - | |
Max. Åbningsbredde GF: | - | - | 1474 | - | |
Dørblad | |||||
Konstruktionsdybde | 65 | 65 | 65 | 64 | |
Udsigt | 140 | 140 - 160 | 140 | 73 | |
Sokkelhøjde | 93 | 93 | 93 | 73 - 93 | |
Limet profil for sprosser/ akterspejl | 20 - 100/ 93 | 20 - 100/ 93 | 20 - 100/ 93 | 20 - 100/ 93 | |
Vægge | |||||
Murværk | ≥ 150 | ≥ 150 | ≥ 150 | ≥ 150 | |
Beton | ≥ 100 | ≥ 100 | ≥ 100 | ≥ 100 | |
Porebetonblokke eller flade blokke (styrkeklasse 4) | ≥ 150 | ≥ 150 | ≥ 150 | ≥ 150 | |
Porebetonplader i henhold til godkendelse (styrkeklasse 4.4)1) | ≥ 150 | ≥ 150 | ≥ 150 | ≥ 150 | |
Montagevægge (højde ≤ 5 m) stål, med paneler på begge sider2) | ≥ 100 | ≥ 100 | ≥ 100 | ≥ 100 | |
Tømmerramme (højde ≤ 5 m) med paneler på begge sider2) | - | - | - | - | |
Beklædte stålsøjler | - | - | - | - | |
Beklædte træsøjler | - | - | - | - | |
Kombination af glas/dør | - | - | - | - | |
Z-ramme | - | - | - | - | |
Fyldninger | |||||
VSG eller ESG | - | - | - | - | |
Panel | - | - | - | - | |
Forsegling til glasset | Tørre ruder (gummitætning) | - | - | - | - |
Vådt glas (modstående tape) | - | - | - | - | |
Designvarianter | |||||
Med ovenlys og sidepanel | - | - | - | - | |
Med ovenlys | - | - | - | - | |
Med sidepanel | - | - | - | - | |
Lydisoleringsdesign maks. Rw,P (Rw,R) | 42 (37) | - | 42 (37) | - | |
AbP nr. Generel prøvningsattest fra bygningsmyndigheden | Z-6.20-... 3) | Z-6.20-... 3) | Z-6.20-... 3) | Z-6.20-... 3) | |
|
Tekniske data Forster Fuego T90 (EI 90)
Modstandsklasse | T90 (EI2 90) / F90 | ||||
Typebetegnelse | Fuego lys | Fuego lys | Fuego lys | ||
Layout af elementer | |||||
Hældninger | - | - | - | ||
Runde buer | - | - | - | ||
Udsparinger | - | - | - | ||
Vinkel | - | - | - | ||
Udvidelser | - | - | - | ||
Dimensioner | |||||
Overordnede dimensioner | Bredde min. - max. | 740 - 1580 | 1440 - 2530 | ubegrænset ¹) | |
Højde min. - max. | 1745 - 2590 | 1745 - 2590 | 4020 | ||
Højde (med ovenlys) | 1845 - 4020 | 1845 - 4020 | - | ||
Ydre rammedimension | Bredde min. - max. | 700 - 1540 | 1400 - 2490 | ubegrænset ¹) | |
Højde min. - max. | 1725 - 2570 | 1725 - 2570 | 4000 | ||
Højde (med ovenlys) | 1825 - 4000 | 1825 - 4000 | - | ||
Fri passage med 180° åbning | Bredde min. - max. | 560 - 1400 | 1260 - 2350 | - | |
Højde min. - max. | 1655 - 2500 | 1665 - 2500 | - | ||
Dørblad | |||||
Konstruktionsdybde | 70 | 65 | 65 | ||
Udsigt | 130 | 130 / 150 | 70 / 90 | ||
Sokkelhøjde | 90, 140-340 | 90, 140-340 | 90, 140-340 | ||
Profil på akterspejl | 90 | 90 | 90 | ||
Limet sprosse | 30, 50 (op til 200) | 30, 50 (op til 200) | 30, 50 (op til 200) | ||
Vægge | |||||
Murværk | ≥ 175 ²) | ≥ 175 ²) | ≥ 175 | ||
Beton | ≥ 140 ³) | ≥ 140 ³) | ≥ 140 | ||
Porebetonblokke eller plane blokke | ≥ 240 4) | ≥ 240 4) | ≥ 240 | ||
Plader af porebeton | ≥ 150 4) | ≥ 150 4) | ≥ 150 | ||
Stolpevægge Rammer og stålstolper | ≥ 100 ³) 4) | ≥ 100 ³) 4) | ≥ 100 ³) 4) | ||
Stolpevægge, sprosser og stolper af træ | - | - | - | ||
Beklædte stålkomponenter | - | - | - | ||
beklædt trækomponent | - | - | - | ||
Kombination af dør og glas | - | - | - | ||
Z-karm | - | - | - | ||
Fyldninger | |||||
Pyrostop 90-102 max. Bredde x højde |
|
|
| ||
Panel, maks. bredde x højde | 1064 x 2184 | 1064 x 2184 | 1305 x 2185 | ||
Glas / panel | - | - | - | ||
Glasindsats | Vådt glas | - | - | - | |
Tørre ruder | - | - | - | ||
Designvarianter | |||||
med ovenlys og sidepanel | - | - | - | ||
med ovenlys | - | - | - | ||
med sidepanel | - | - | - | ||
Røgbeskyttelsesdør i henhold til DIN 18095 og DIN EN 1634 - del 3 (i kombination med DIN 4102) | - | - | - | ||
Lydisoleringsdesign maksimalt Rw,P (Rw,R) | - | - | - | ||
Modstandsdygtighed over for indbrud | - | - | - | ||
Termisk transmission Uf | - | - | - | ||
Testcertifikat/godkendelsesnumre | Z-6.20-1881 | Z-6.20-1881 | Z-19.14-1973 | ||
Testet i henhold til | DIN 4102 og DIN EN 1634 | ||||
- muligt - ikke muligt ¹) i henhold til statiske krav ²) op til RAM 2400 x 2600 med ovenlys og sideparti, til murværk 240 RAM op til 4500 x 3500, op til højde 4000 kun med ovenlys ³) op til RAM 4500 x 3500 med ovenlys og sideparti, op til højde = 4000 kun med ovenlys 4) Hult stålprofil min. 50 x 50 x 4 påkrævet | |||||
Alle mål i mm, RAM = udvendige rammemål |
Udvendige lukninger i teknisk stål
Modstandsklasse | Termisk isolerede udvendige lukninger | |||
Typebetegnelse | 1-fløjet dør | 2-fløjet dør | Ruder ²) | |
Layout af elementer | ||||
Skråninger | - | - | - | |
Runde buer | - | - | - | |
Udsparinger | - | - | - | |
Vinkel | - | - | - | |
Udvidelse | - | - | - | |
Dimensioner | ||||
Overordnede dimensioner | Bredde min. - max. | 6300 - 1530 | 1500 - 2400 | ubegrænset ¹) |
Højde min. - max. | 1765 - 3015 | 1740 - 2400 | 5000 ¹) | |
Ydre rammedimension | Bredde min. - max. | 600 - 1500 | 1400 - 3000 | ubegrænset ¹) |
Højde min. - max. | 1750 - 3000 | 1750 - 3000 | 5000 ¹) | |
Fri passage | Bredde min. - max. | 460 - 1360 | 1260 - 2860 | - |
med 180° åbning | Højde min. - max. | 1680 - 2930 | 1680 - 2930 | - |
Dørblad | ||||
Konstruktionsdybde | 65 | 65 | 65 | |
Udsigt | 130 | 130 / 150 | 70 / 90 | |
Sokkelhøjde | 70, 90, 140 - 340 | 70, 90, 140 - 340 | 70, 90, 140 - 340 | |
Profil på akterspejl | 90 | 90 | 90 | |
Limet sprosse | 30, 50, (op til 400) | 30, 50, (op til 400) | 30, 50, (op til 400) | |
Vægge | - | - | - | |
Murværk | - | - | - | |
Beton | - | - | - | |
Porebetonblokke eller flade blokke | - | - | - | |
Plader af porebeton | - | - | - | |
Studsvægge | - | - | - | |
Beklædt stålkomponent | - | - | - | |
beklædt trækomponent | - | - | - | |
Kombination af dør og glas | - | - | - | |
Z-karm | - | - | - | |
Fyldninger | ||||
Glaseringens tykkelse 4) | 20-54 mm | |||
Panel | - | - | - | |
Glas / Panel | - | - | - | |
Glasindsats | Vådt glas | - | - | - |
Tørre ruder | - | - | - | |
Designvarianter | ||||
med ovenlys og sidepanel | - | - | - | |
med ovenlys | - | - | - | |
med sidepanel | - | - | - | |
Fælles permeabilitetsklasse | 4 | 4 | 4 | |
Tæthedsklasse for slagregn | op til 5A | op til 5A | - | |
Lydisolering | 47 dB | 47 dB | 47 dB | |
Modstandsdygtighed over for indbrud | WK 1-3 | WK 1-3 | - | |
Termisk transmission Uf | > 1,4 - 1,9 W/m²K | > 1,4 - 1,9 W/m²K | > 1,4 - 1,9 W/m²K | |
CE-mærkning i henhold til EN 14351-1 | - | - | - | |
Testet i henhold til | DIN 4102 og DIN EN 1634 | |||
- muligt - ikke muligt ¹) i henhold til statiske krav ²) ingen facade, ingen dreje/kip-vinduer ³) Andre størrelser mulige 4) Alt kommercielt tilgængeligt glas er tilgængeligt | ||||
Alle mål i mm, RAM = udvendig rammedimension |
Montage
ENKEL MONTERING
Nedenfor finder du et uddrag af de mange fordele ved enkel installation og de mange installationsmuligheder for Novoferm NovoFire Steel rørrammedøre.
Montering og finjustering
MONTERING OG FINJUSTERING - ALLE FORDELE PÅ ET ØJEBLIK
GLASERING
NovoFire® Steel-ruder giver maksimal fleksibilitet med hensyn til design, glastype og rudeteknologi. Dørene kan designes med et eller to sidefelter og/eller overlys. Der kan bruges mono- eller isoleringsglas eller paneler med fyldninger af andre materialer som fyldninger. Paneltykkelsen er mellem 6 og 34 mm. NovoFire® Steel-døre kan fremstilles med fast glas individuelt som U-forbindelser, i rammekonstruktion eller som en kombination af begge.
Med hensyn til glasteknologi er både tørglas (sort EPDM-glaspakning på ydersiden) og vådglas (med glasbånd) muligt.

BESLUTNINGER
Et stort udvalg af testede og godkendte fittings lader intet tilbage at ønske.
Brugen af standardiserede komponenter sikrer effektiv og økonomisk produktion og installation.

PROFIL
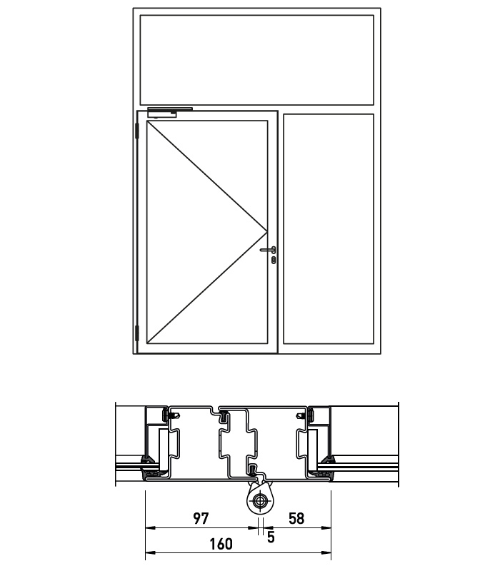
Centrum for NovoFire® Steel-platformen er en stålprofil med en konstruktionsdybde på 65 mm og en materialetykkelse på 1,8 mm.
Takket være den nye profilgeometri og den multifunktionelle rille er den kompatibel med komponenterne i vores systemoverskridende hardwareplatform. De regelmæssige udstansede huller i profilen gør det lettere at fastgøre strukturen og forbinde den med andre elementer i rammekonstruktionen.
De udstansede huller gør det også nemt at lægge kabler til elektrificering af døren, både under produktionen og på et senere tidspunkt.

BANDER
NovoFire® Steel T30/ RS bruger det nyudviklede påsvejsede dørhængsel, som sætter nye standarder takket være sin vedligeholdelsesfrihed og nemme justering, selv efter montering.
Desuden er der mulighed for at vælge mellem flere hængselsdesigns, så alle funktionelle krav opfyldes, og dørdesignet samtidig bliver perfekt.

DØRENS FOLDEOMRÅDE
Det funktionelle dæksel af EPDM sikrer et godt udseende i dørområdet. Inddækningen fås i to versioner:
Som en variant til røgbeskyttelse og som en variant til brandbeskyttelse. Ud over sikkerhed og design forbedrer den funktionelle afdækning også dørenes vedligeholdelsesegenskaber.
Det skyldes, at både materialet og det faktum, at dette system ikke har nogen profilkanter, gør rengøringen lettere og understøtter hygiejnisk, bakteriefri renlighed.

CLAMP PLATE
En spændeplade gør det muligt at fastgøre alle installationsdele fleksibelt i den multifunktionelle rille med blot et par trin.
Efterfølgende finjustering af beslagene er mulig til enhver tid.

RABAT ESPAGNOLETTE GUIDE
En unik og enkel styring holder den falsede espagnoletstang i den rigtige position og dæmper kliklyden fra låsestangen, når døren falder ind i låsen.
Styrene kan eftermonteres når som helst, selv under drift.

Installationsvarianter og elementkobling
Installationsvarianter og elementkobling
MONTAGEVARIANTEN

BLANDET KONSTRUKTION
Kombination af præfabrikerede elementer med monteringsfuge (E) og (U) for nem installation på trange steder.
FORSKELLIGE KOBLINGER AF RUDERNE
ELEMENTKOBLING
U-KOPLING
BLANDET KONSTRUKTION
KOMBITÜR
* Faste ruder forbundet med døren i en U-form
ELEMENTKOBLING
Så snart RAM på den faste rude (eventuelt som overvindue eller sideparti) er < 1.000 mm, sker sammenkoblingen element for element.
U-RUDER Faste ruder (eventuelt som ovenlys eller sideparti) må kun kobles til den enkelt- eller dobbeltfløjede dør i en U-form, hvis den faste rudes RAM ikke overstiger 1.000 mm. Desuden må sidedelen af den faste rude kun kobles til den enkelt- eller dobbeltfløjede dør i en U-form, hvis døren ikke har et overlys!
LÅSNING TIL TOPPEN En lås med ekstra låsning til toppen er nødvendig for frihøjder > 2.423 mm; en flerpunktslås kan installeres som ekstraudstyr.

Har vi vakt din interesse?
Novoferm samarbejder med et bredt netværk af specialforhandlere i Tyskland - i dit nabolag. Vores autoriserede Novoferm-forhandlere tilbyder professionel rådgivning, salg, opmåling, montering, demontering og miljøvenlig bortskaffelse af vores produkter til konkurrencedygtige all-inclusive-priser.
Vi vil med glæde hjælpe dig.